填报管理
1. 概述
在数据填报中,填报者填写的表单数据部分需要存储在自己的数据库中,这时需要为其配置数据库,并且进行同步管理,所以需要用到填报管理功能。
2. 数据库配置
目前产品支持同步数据库类型有MySQL、Hive、Doris,依次点击[数据源]-[数据连接]选择已有或新建数据源,就可以把数据库和数据填报表单的数据连接起来。

在数据连接配置中可以进行同步设置,选择是否在数据变更时自动同步数据库。这样只要有表单填写数据提交,即可同步到连接的数据库中。
- 选择“建库建表”同步方式后,系统将会新建数据库,并且新建表单;
- 选择“选择库”同步方式后,系统将会在您选中的数据库中建表;
- 注:第一次配置数据库时,可以勾选设置完后立即同步,即把已发布表单中已经搜集的数据进行立即同步。
3. 同步管理
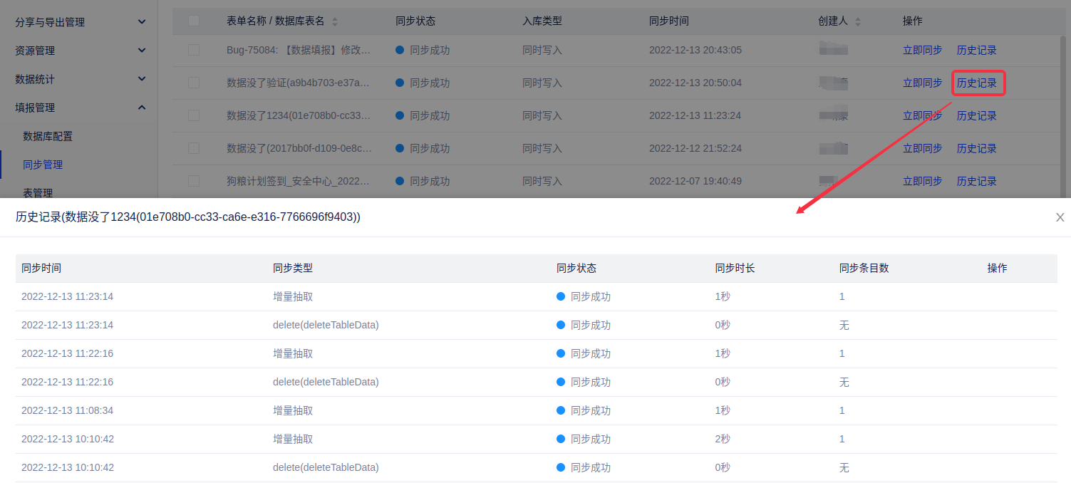
在同步管理界面可以看到所有已经发布的表单,同时显示同步成功、同步中、同步失败和未同步的tab。切换不同的tab可以详细查看表单的部分信息。

点击表单前面的复选框或者每张表单后面的[立即同步]按钮可以进行数据同步。

点击表单后面的[历史记录]按钮可以查看表单同步的历史记录。

4. 表管理
每一份数据填报的表单都会在数据库中有相对应的schema和表名。在表管理中可以查看表单的存储信息。

同时也可以删除表单。在这里删除表单的含义是删除表单在数据库中存储的所有数据,同样可以进行批量删除。

5. 待办
表单发布后,拥有发布待办权限的用户可通过该功能可以通知填写人,但填写人必须是项目内的用户。待办生成方式分为定时待办和立即待办两种。
(1)定时待办,适用于周期性填报场景,如周、月、季度汇报等。

- 通知方式:支持系统通知、邮件、短信、钉钉、webhook,例如当设置邮件时,该用户将会受到邮件提醒,其他方式同理。
- 接收人:可指定用户、用户组或部门的成员填写,搜索时提供模糊匹配。
- 频率:支持按周、月、季度、事件日历四种日期模式。
- 时间:可自定义设置待办时间。
- 有效天数:设置表单填写的截止天数(按通知时间起计算),超出天数后表单将无法填写。截止日期前3天,每天10:00将会邮件提醒尚未提交数据的填写人。
(2)立即待办,设置后立即通知,只推送一次。

- 通知方式:支持系统通知、邮件、短信、钉钉、webhook,例如当设置邮件时,该用户将会受到邮件提醒,其他方式同理。
- 接收人:可指定用户、用户组或部门的成员填写,搜索时提供模糊匹配。
- 有效天数:设置表单填写的截止天数(按通知时间起计算),超出天数后表单将无法填写。截止日期前3天,每天10:00将会邮件提醒尚未提交数据的填写人。
同时,在该界面可以批量管理已发布表单的待办事项。
添加待办:按需求添加定时待办或非定时待办。

立即生成待办:将定时或者非定时待办立即发送。

删除待办:将不再需要使用的定时或非定时待办项删除。
(3)待办发布后,用户将在工作中看到自己的待办。

- 点击忽略后,不再以小红点提醒该待办。
- 若表单状态为已失效、已过期,则会自动移入已失效tab页。
(4)只有拥有“发布待办”权限的用户才能发起待办。项目管理员可在[项目中心]-[权限管理]-[角色管理]-[数据填报]模块中配置,如下图所示:

- 勾选该权限后,则项目中心-填报管理-定时待办/非定时待办菜单项对用户可见、可用;
- 另外在表单的表单模式下,发起待办按钮也对用户可见、可用;
- 若没该权限,则菜单项或按钮不可见用户只能对勾选的表单发起待办,未勾选的不可发起权限勾选后,关联勾选“发起流程、数据查看、数据管理、表单查看”。